Взрывозащищенный пакетный переключатель УНВ-ДГ(В)-01-ПК

Производственно-инжиниринговая компания
Производственно-инжиниринговая компания

Взрывозащищенный пакетный переключатель УНВ-ДГ (В)-01-ПК предназначен для промышленного применения во взрывоопасных средах в помещениях и наружных установках (группа II) с содержанием газа и горючей пыли соответственно для взрывоопасных зон 1 — 2.

Пакетный переключатель УНВ-ДГ(В)-01-ПК предназначен для промышленного применения во взрывоопасных средах в помещениях и наружных установках (группа II) с содержанием газа и горючей пыли соответственно для взрывоопасных зон 1 – 2.
Пакетный переключатель УНВ-ДГ(В)-01-ПК
Пакетные взрывозащищенные переключатели и выключатели серии УНВ-ДГ(В)-01-ПК относятся к стационарным устройствам и предназначены для коммутации электрических цепей на различных промышленных объектах во взрывоопасных зонах. Область применения — взрывоопасные зоны помещений и наружных установок согласно маркировке взрывозащиты.

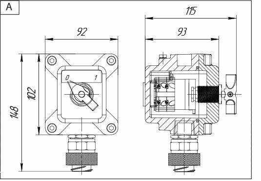
Переключатели серии УНВ-ДГ(В)-01-ПК состоят из корпуса и крышки, которые изготовлены из коррозионностойкого модифицированного алюминиевого сплава. На корпусе переключателей УНВ-ДГ(В)-01-ПК размещены кабельные вводы. На крышке переключателя расположена ручка управления переключателем.
Основные функции пакетного переключателя
Содержание
Ex tb IIIC «T85°C/T100°C» Db Х
–60/–40 … 40/60 °С
Соответствие стандартам таможенного союза:
Диапазон рабочих температур:
Степень защиты:
Сертификат соответствия:
Зоны применения:
1 Ex d IIC «T6/T5» Gb Х
IP65/66/67
№ТС RU C-RU.HA65.B.0071-4/20
Зона 1, Зона 2
ГОСТ IEC 60079-1-2011
ГОСТ Р МЭК 60079-0-2011
ГОСТ Р МЭК 60079-31-2013
Вид взрывозащиты:
Материал корпуса и крышки: коррозионностойкий модифицированный алюминиевый сплав.
Крепеж: нержавеющая сталь AISI 304 (стандартно).
Покраска: антифрикционное эпоксидное порошковое покрытие. Стандартный цвет RAL 7035.
описание
Опции и аксессуары, поставляемые по запросу
  • Внешнее эпоксидное покрытие с цветом по запросу.
  • Нестандартная резьба.
  • Нестандартная схема переключения.
Технические характеристики:
Схемы подключения пакетного переключателя УНВ-ДГ(В)-01-ПК
Вариант 0 — 1
Подключение переключателя по схеме «0 — 1»
Вариант 1 – 0 – 2
Подключение переключателя по схеме «1 – 0 – 2»
Вариант 1 – 2
Подключение переключателя по схеме «1 – 2»
Для заказа оборудования свяжитесь с нами